产品中心

PRODUCT

产品中心

FZW32-12户外10KV柱上负荷开关

如果您有任何问题可以联系我们!
联系我们

电话:13772120800

扫一扫,加我为朋友
  • 详细信息
详细信息

1、 概  述
FZW32-12/630-20型户外高压隔离真空负荷开关经严格的型式实验和长期试运行考核,各项技术性能指标全部达到GB3804和IEC标准,适用于额定电压12KV、额定电流630A、三相交流50Hz的供电网络中。
2、 说  明
a、采用真空灭弧室灭弧、无爆炸危险、不须检修。
b、隔离刀与三相真空灭弧室联动,分闸时有明显的隔离断口。
c、机体的零部件全部采用不锈钢材料,底架采用不锈钢材料或热镀锌外加防紫外线保护涂料的碳钢,确保了机体在户外环境下的正常运行。
d、安装方式以单杆式、手动操作为主,也可采用电动或远程遥控操作。
e、广泛适用农网、城网、铁路等配置电线路改造。
f、开断能力大、安全可靠、电寿命长、可频繁操作。

3、 工作原理
负荷开关是由隔离刀和真空灭弧室这两大组件组成,隔离刀承担了合闸和分闸时绝缘作用,真空灭弧室承担熄灭电弧的作用。
隔离刀是由弹簧过中机构进行合分闸操作的,过中弹簧提供了隔离刀合闸时所需的能量,并保证了真空灭弧室在分闸时熄灭电弧而不受人为因素的影响,真空灭弧室在隔离刀的分闸过程中,有快速机构提供灭弧室的分闸速度。隔离刀的三相联动操作确保了灭弧室的分闸同期性。

 

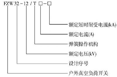
4、 型号含义

5、 使用环境条件
a、海拔不超过1000 m
b、周围空气温度:上限 +40℃  下限 -30℃
c、相对湿度:日平均值大于95%, 月平均值不大于90 %
d、无经常剧烈振动。
6、 技术数据

序 号

名 称

单 位

参 数 值

1

额定电压

KV

12

2

额定频率

Hz

50

3

额定电流

A

630

4

额定有功负载开断电流

A

630

5

额定闭环开断电流

A

630

6

5%额定有功负载开断电流

A

31.5

7

额定电缆充电开断电流

A

10

8

额定空载变压器开断容量

KVA

1600

9

额定开断电容器组电流

A

100

10

1min工频耐受电压:真空断口、
相间、相对地 / 隔离断口

KV

42/48

11

雷电冲击耐受电压:相间、
相对地 / 隔离断口

KV

75/85

12

额定短时耐受电流(热稳定)

KA

20

13

额定短路持续时间

S

4

14

额定峰值耐受电流(动稳定)

KA

50

15

额定短路关合电流

KA

50

16

机械寿命

10000

17

这空灭弧室触头允许磨损厚度

mm

0.5

18

手动操作力

Nm

≤200

19

负荷开关真空灭弧室装配调整

触头开距

mm

5±1

平均分闸速度

m/s

 1.1±0.2

三相分闸不同期

ms

<5

三相合闸不同期

ms

<2

带电体之间及相对地距离

mm

>200

辅助回路电阻

u.Ω

≥400

 

 

7、FZW32 -12/630-20高压真空负荷开关安装方式及横宽度相距

安装方式

横向宽度

AB相间间距

BC相间间距

单杆水平装

1300

750

320

单杆侧装

1230

500

500

单杆侧装

1050

400

400

8、 基本结构图
本负荷开关是三相联动机构,主要由框架(5) 、真空灭弧室组件(1) 、隔离刀组件(3) 、以及过中弹簧机构(6) 组成,隔离刀 、真空灭弧室通过绝缘子固定于框架上 , 过中弹簧装于框架上 。

1、真空灭弧室                 2、分闸弹簧
3、隔离刀组件                 4、绝缘拉杆
5、框架                       6、过中弹簧机构

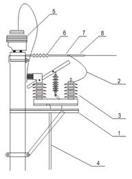
9.1、 单杆侧装(见图)
                                1、接线端子
2、抱箍
3、安装架
(长支架、短支架)
4、负荷开关
5、电线杆
6、电源出线

 

9.2、 水平安装方式(见图)
1、开关支架部件
2、连接铜排
3、负荷开关
4、操纵杆
5、CT
6、瓷拉捧绝缘子
7、叉型锁铐
8、耐张线夹
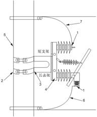
9.3、 水平安装方式(见图)
QQ截图未命名1、连接导线
2、负荷开关
3、连接铜排
4、瓷拉捧绝缘子
5、叉型锁铐
6、耐张线夹
7、开关支架
8、操纵杆
10、 操动机构 
(1)手柄操作
77a. 把操作手柄安装在负荷开关主轴一端,并用螺母紧固。
b.根据手柄两端分、合指示,在两端施加一定力,使主轴转动, 弹簧过中机构带电动隔离刀组件,真空灭弧室操作机构运动,实现了开关的关合与分断。
88+

(2)杆下操作
a.负荷开关安装在电线杆上部,离地较高,操作杆超过三米则需加装中间支撑件。

 

(3)电动操作
888             a.电动操作机构与负荷开关配套使用,有三种操作方式:
——手摇操作
——现场按钮电动操作
——远程控制电动操作

  具体使用方法:详见电动操作机构说明
相关产品
联系我们
扫一扫,加我为朋友
© 西安宝光电力科技有限公司   陕ICP备2022009649号   XML   网站地图   网站制作维护:传信网络

在线
QQ

点击这里给我发消息 625887399
在线QQ

微信
咨询

扫一扫,加我为朋友
扫一扫,加我为朋友

服务
热线

13772120800
服务热线